Kia Rio: Front Seat / Front Seat Cushion Cover
Components and components location
| Component Location |

| 1. Front seat cushion cover
|
Repair procedures
| Replacement |
Put on gloves to protect your hands. |
|
| 1. |
Remove the front seat outer shield cover. (Refer to Front Seat - "Front Seat Outer Shield Cover") |
| 2. |
Remove the front seat inner shield cover. (Refer to Front Seat - "Front Seat Inner Shield Cover") |
| 3. |
Remove the front seat back cover lower protector (A).
|
| 4. |
Disconnect the heater connector (A).
|
| 5. |
Pull out the protectors (A), and then front seat cushion cover from the front seat cushion frame. [lower]
[LH]
[RH]
|
| 6. |
Remove the front seat cushion cover (A) from the front seat cushion frame.
|
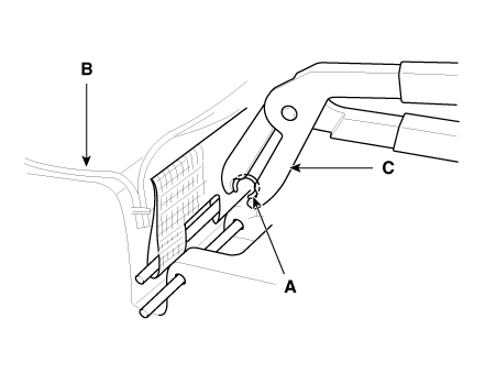
| 7. |
Remove the front seat cushion cover (C) from the front the seat cushion frame after removing the velcro tape (A) and hog-ring clips (B).
|
| 8. |
Install in the reverse order of removal.
|
Front Seat Back Cover
Components and components location
Component Location
1. Front seat back cover
Repair procedures
Replacement
...
Front Seat Frame Assembly
Components and components location
Component Location
1. Front seat back frame assembly
2. Front seat cushion frame assembly
Repair procedures
...
Other information:
Kia Rio 2017-2020 YB Service Manual: Body Electrical System
General information General Troubleshooting Information Before Troubleshooting 1. Check applicable fuses in the appropriate fuse/relay box. 2. Check the battery for damage, state of charge, cleanliness and tight connections. D 1.4 U2 TC ...
Kia Rio 2017-2020 YB Service Manual: Sunroof
Components and components location Component Location 1. Sunroof 2. Sunroof switch 3. Sunroof motor & controller Schematic diagrams Circuit Diagram ...









